Инженеры Модены в курсе, что звук мотора важен не только для удовольствия от вождения, но ещё и ради того, чтобы водитель получал активный отклик от степени интенсивности работы силового агрегата. Потому нет никаких оснований отказаться от этого канала получения информации и после перехода с ДВС на электротягу.
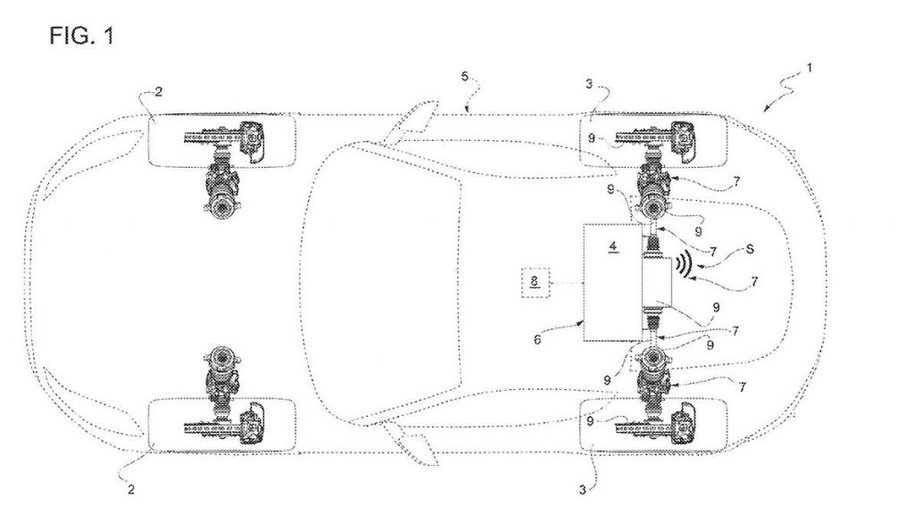
Патентная заявка Ferrari описывает некое устройство воспроизведения звука, установленное на задней оси машины и связанное с электродвигателями колёс, пишет Carscoops. Громкость, тональность и тембр зависят от степени раскрутки ротора, тем самым будет достигнута полная имитация звучания V12 или другого утраченного в процессе эволюции силового агрегата.
На данный момент технология является экспериментальной, кроме того, следует учитывать акустические возможности собственно динамиков. Пригодится или нет синтетический рык электрическим суперкарам, станет известно в 2025 году, когда дебютирует первый электромобиль Ferrari.
